将条形音箱安装到墙上(适用于具备资质的服务人员)
- 在将条形音箱安装到墙上之前,请务必阅读以下注意事项。
使用条形音箱上的螺钉挂孔将其安装到墙上。
[搜索标签]#Q01 墙式安装

- 将安装模板(随附)安装到墙上。

- 标记螺钉位置。

- 从墙上拆下安装模板。
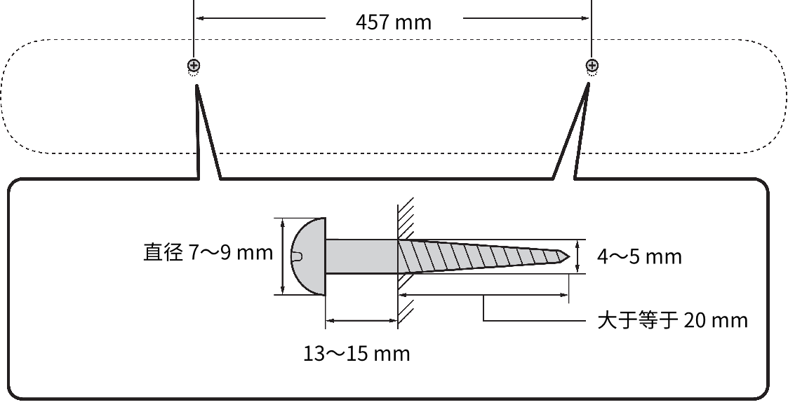
- 在墙上标出的位置安装螺钉(另售)。
- 确保使用以下规格的螺钉。

- 从垫片(随附)上剥下垫纸,并将每个垫片的粘合面粘贴到条形音箱的底部。

- 将缆线连接至条形音箱。
- 将条形音箱挂在螺钉上。

使用条形音箱上的螺钉挂孔将其安装到墙上。
[搜索标签]#Q01 墙式安装





